Thiết kế mạch
Thiết kế mạch in
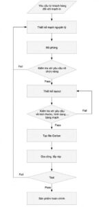
Hatakey cung cấp dịch vụ thiết kế mạch điện tử, mạch in PCB nhằm đáp ứng tất cả các nhu cầu thiết kế các mạch điện tử từ nghiên cứu cho đến sản xuất hàng loạt theo yêu cầu từ khách hàng. Với đội ngũ kỹ sư, và kỹ thuật viên giàu kinh nghiệm, sáng tạo, quy trình thiết kế chuyên nghiệp chúng tôi có thể đảm nhiệm toàn bộ quy trình thiết kế từ vẽ mạch nguyên lý cho đến lắp ráp, thử nghiệm sản phẩm. Các sản phẩm đươcj thiết kế của Hatakey luôn được tối ưu, tuân thủ chặt chẽ các quy chuẩn về thiết kế cũng như công nghệ giúp làm giảm khả năng xảy ra lỗi, tăng độ bền, và giảm giá thành, giúp khách hàng tiết kiệm về chi phí cũng như thời gian cho việc nghiên cứu và phát triển các sản phẩm mới. Các sản phẩm được thiết kế, chế tạo bởi chúng tôi phải trải qua nhiều công đoạn test nghiêm ngặt, do đó sản phẩm có tính ổn định cao, đảm bảo đầy đủ mọi tính năng quý khách hàng yêu cầu. Bên cạnh đó, chúng tôi còn cung cấp dịch vụ trọn gói quy trình khép kín từ thiết kế, chế tạo mạch in đến gia công lắp ráp linh kiện điện tử giúp các sản phẩm điện tử của quý khách hàng sau khi thử nghiệm thành công có thể đưa vào sản xuất hàng loạt ngay lập tức, giúp giảm thời gian sản xuất, đưa sản phẩm chiếm lĩnh thị trường một cách nhanh nhất.
Để đặt hàng thiết kế và được tư vấn kỹ thuật xin vui lòng liên hệ tại đây hoặc gửi thư về cho chúng tôi tại địa chỉ hatakeyvn@gmail.com
Hãy đến với chúng tôi biến những ý tưởng của bạn thành hiện thực!
Xin chân thành cảm ơn sự quan tâm của quý khách hàng!

Một số dự án chúng tôi đã thiết kế cho khách hàng:
– Mạch 2 lớp:


– Mạch in 4 lớp:

– Mạch in 10 lớp:


English